墙壁式旋臂91麻豆性爱视频(又称 壁柱式旋臂91麻豆性爱视频 壁柱式旋臂吊 壁柱式旋臂吊 墙壁吊 墙壁式旋臂91麻豆性爱视频) 墙壁吊是由支架、旋臂装置及环链电动葫芦等组成。旋臂固定在墙壁或水泥柱上,可根据用户需求进行回转。回转部分分为手动回转和电动回转。环链电动葫芦安装在旋臂轨道上,用于起吊重物。
墙壁式旋臂吊其优点就是可以直接安装在墙面或定柱上,或者也可以安装在机器设备上,从而不需要占用任何地面空间。
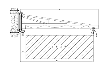
结构及操作
本机主要由1、悬臂;2、回转装置;3、环链电动葫芦组成。
环链电动葫芦有起重和在横梁上往复运行的功能。
悬臂梁可由回转装置上的的减速机带动滚轮进行回转运动。
电器部分见附图:电气原理几电气接线图。电器控制箱安装在环链葫芦上。
本机操作通过手电门按钮实现。手电门有八个按钮,分别控制快升、快降、慢升、慢降、左右回转及葫芦小车的水平前后行走。


| 产品型号 | BX-JKBK0.125 | BX-JKBK0.25 |
BX-JKBK0.5 |
| 起重量(kg) | 125 | 250 | 500 |
| 回转半径L(m) | 3(标准) | ||
| 有效工作半径(m) | L-0.5 | ||
| 起升速度(m/min) | 8/2 | 4/1,10/2.5 | 5/1.25,10/2.5 |
| 运行方式 | 手动 | ||
| 起升高度(m) | 3(标准) | ||
| 旋转角度(°) | ≤180 | ||
| 产品型号 | BX0.125 | BX0.25 | BX0.5 | BX1 | BX2 | BX3 | |||||||||||||||||||||||||
| 额定起重量(T) | 0.125 | 0.25 | 0.5 | 1 | 2 | 3 | |||||||||||||||||||||||||
| 起吊高度h(m) | 3 | 3 | 3 | 3 | 3 | 3 | |||||||||||||||||||||||||
| 回转半径L(m) |
|
|
|
|
|
|
|||||||||||||||||||||||||
| 工作半径R2(m) | L-200mm | ||||||||||||||||||||||||||||||
| 工作半径R1(m) | 1 | 1 | 1 | 1 |
|
||||||||||||||||||||||||||
| 提升速度(m/min) | 8/2 | 4/1,10/2.5 | 5/1.25,10/2.5 | 5/1.25 , 8/2 | 4/1 | 4 | |||||||||||||||||||||||||
| 水平运行速度(m/min) | 7,14,28 | ||||||||||||||||||||||||||||||
| 回转速度(r/min) | 0.8 | ||||||||||||||||||||||||||||||
| 回转角度(°) | 180 | ||||||||||||||||||||||||||||||
| 电机容量 |
回转电机(kw) |
0.37 | 0.37 |
|
|
|
|
||||||||||||||||||||||||
|
起升电机(kw) |
0.2/0.05 |
0.2/0.05, 0.5/0.13 |
0.5/0.13, 1.0/0.25 |
1.0/0.25, 1.5/0.35 |
1.5/0.35 | 2.3 | |||||||||||||||||||||||||
|
运行电机(kw) |
0.14 | 0.14 | 0.14 | 0.2 | 0.2 |
0.4 |
|||||||||||||||||||||||||

联系人:周先生
手机:15950148282
电话:0510-86991285
邮箱:yfc@zfyice.com
地址: 江苏省江阴市新城东街道东盛路47号
联系电话
159 5014 8282
在线客服
扫描二维码

返回顶部